本系列消聲器為小孔噴注與節流降壓組合式結構,具有重量輕、體積小、頻帶寬等特點。
二、使用范圍
本系列消聲器廣泛適用于冶金、熱電化工、石油等工業部門中各種鍋爐蒸汽向空排放及安全閥排汽消聲。
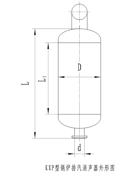
三、規格、性能、規格尺寸
| 類 別 | 型 號 | 適 用 鍋 爐 參 數 | 消 聲 器 特 性 | 接 管 規 格 | |||||||
| 容量 t/h |
壓力MPa | 溫度℃ | 設計流量t/h | 消聲量dB(A) | 本體長度L mm | 總長L mm | 最大直徑D mm | 接管直徑d mm | 接管材料 | ||
| 中壓 | KXP(ZH)-10 | 35 | 3.82 | 10 | 30 | 480 | 690 | Φ219 | Φ57×3.5 | 1Cr18Ni9Ti | |
| KXP(ZH)-15 | 15 | 38 | 751 | 1102 | Φ325 | Φ57×3.5 | |||||
| KXP(ZH)-25 | 65.7 | 25 | 38 | 1099 | 1451 | Φ76×4 | |||||
| KXP(ZH)-40 | 130 | 40 | 36 | 1419 | 1786 | Φ108×4.5 | |||||
| 次高壓 | KXP(S)-10 | 35 | 5.30 | 10 | 36 | 640 | 992 | Φ325 | Φ57×3.5 | ||
| KXP(S)-25 | 65.75 | 25 | 38 | 1099 | 1451 | Φ76×5 | |||||
| KXP(S)-40 | 130 | 40 | 36 | 1418 | 1786 | Φ108×4.5 | |||||
| 高壓 | KXP(G)-60 | 220 | 9.81 | 60 | 37 | 1520 | 2074 | Φ520 | Φ133×10 | ||
| KXP(G)-80 | 80 | 39 | 1818 | 2372 | |||||||
| KXP(G)-100 | 100 | 39 | 2039 | 2593 | |||||||
| 超高壓 | KXP(Ch)-100 | 420-670 | 13.73 | 100 | 40 | 2039 | 2590 | Φ520 | Φ133×16 | ||
| KXP(Ch)-200 | 670 | 200 | 41 | 2574 | 3123 | ||||||

- 上一篇: 第一頁
- 下一篇: HL-SP型蒸汽排放消聲器




